Мясорубка бытовая МА-С соответствует ГОСТ 4025-95.
Мясорубка бытовая МА-С имеет белорусский и российский сертификаты соответствия и удостоверение о государственной гигиенической регистраци
Основными рабочими органами мясорубки являются нож и решётка, от качества заточки которых зависит качество измельчения продукта.
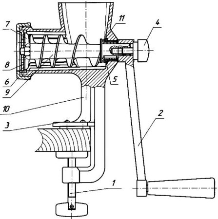
Сборку изделия производить в соответствии со следующим рисунком. Особое внимание следует обратить на установку решётки и втулки шнека. Решётка (8) устанавливается рабочей поверхностью к ножу. Втулка шнека (11) устанавливается на хвостовик шнека с внутренней стороны корпуса.
Для профилирования теста вместо ножа и решётки устанавливается заслонка и одна из профилированных решёток. Для приготовления колбас вместо решётки диаметром 7 мм устанавливается решётка с отверстиями диаметром 13 мм, насадка для начинки колбас и гайка (6).
1-Винт; 2-Рукоятка; 3-Опора; 4-Винт; 5-Втулка; 6-Гайка нажимная; 7-Нож;
8-Решётка; 9-Шнек; 10-Корпус; 11-Втулка шнека.
Продукт, предназначенный для измельчения, должен быть нарезанным на полосы размером в сечении примерно 25х25 мм. Мясо должно быть очищено от костей. Для обеспечения качественной нарезки необходимо удалить сухожилия и хрящи.
Для приготовления печенья с использованием комплекта решёток для профилирования необходимо использовать песочное тесто, приготовленное в соответствии с рецептурой пригодной для выпечки печенья в домашних условиях.
|
Производительность, кг/час
|
32 |
|
Бренд
|
ТОРГМАШ БАРАНОВИЧИ |
|
Вес, кг
|
1.1 |
|
Высота, мм
|
146 |
|
Длина, мм
|
90 |
|
Ширина, мм
|
246 |
|
Базовая единица
|
шт |
Заказ оплачивается по ценам, опубликованным в интернет-магазине на момент размещения заказа.
Цены, зафиксированные в заказе, действительны в течение 5-ти дней.
Срок действия цен может быть продлён по договорённости с менеджером.
Оплата заказа осуществляется наличным или безналичным расчётом.
При оплате наличным расчётом денежные средства передаются:
в нашем офисе при самовывозе товара;
курьеру при доставке товара заказчику.
Банковский перевод осуществляется на основании выставленного счёта.
Товар отгружается только после поступления денежных средств на наш банковский счёт.
по Москве в пределах МКАД - 400 руб.
по Московской области за МКАД - 600 руб
по регионам России - Почтой России, экспресс-почтой EMS, СДЭК, Деловыми Линиями,
ПЭК либо передаем Вашему перевозчику в Москве заказ для доставки его Вам.
на сайте работает автоматизированный расчет стоимости основными службами доставки
Весь ассортимент предлагаемого оборудования мы обеспечиваем гарантийными обязательствами. Они касаются стоимости:
Гарантийный срок, в пределах которого действительны наши гарантийные обязательства,
составляет от 12 до 36 месяцев с даты отправки оборудования по адресу клиента,
и зависит от модели устройства и его особенностей, а также производителя.
Гарантийные обязательства не распространяются на следующие случаи:
Если у вас возникнут дополнительные вопросы по гарантийному обслуживанию, обращайтесь к дежурному менеджеру в любое удобное время.
